아이디 : o2warp***
닉네임 : 워프짱™
포인트 : 277720 점
레 벨 : 최우수회원(레벨 : 6)
가입일 : 2012-10-17 11:34
포토앨범보기 쪽지보내기
워프짱™ | 10-13 14:54 | 조회수 : 1,253 | 추천 : 1
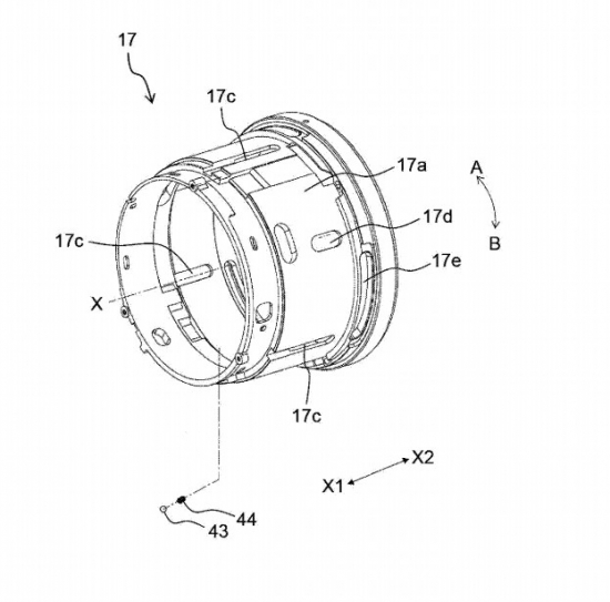
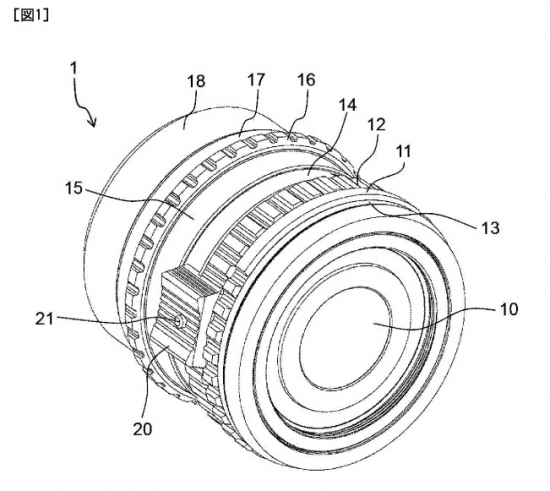
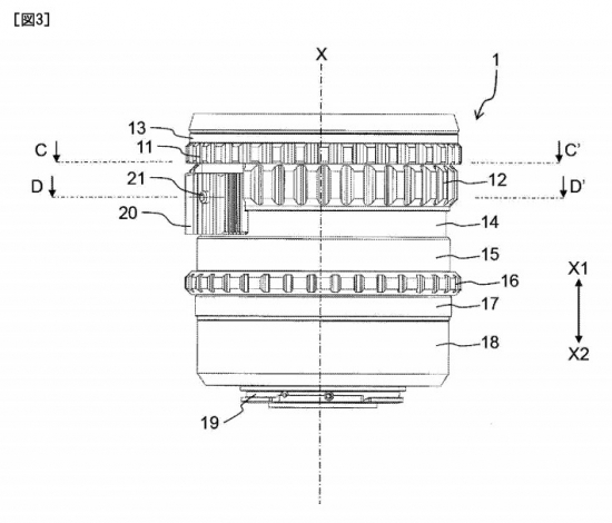
출처는 43루머스입니다. 원문 : www.43rumors.com/panasonic-... 파나소닉의 특허에서 완전한 수동방식의 조리개와 포커스링이 존재하는 새로운 종류의 마이크로포서드 렌즈가 공개되었습니다.
아이디 : nemoworld
닉네임 : 네모세상
포인트 : 1177269 점
레 벨 : 운영진
가입일 : 2005-06-09 15:30
답글
아이디 : goppaba***
닉네임 : 신선생님
포인트 : 264846 점
가입일 : 2015-08-29 01:51
아이디 : nubes
닉네임 : 누베스
포인트 : 44877 점
레 벨 : 우수회원(레벨 : 7)
가입일 : 2011-03-08 10:06
이전글 다음글 목록
이전 508 509 510 511 512 다음
회원정보
아이디 : nemoworld
닉네임 : 네모세상
포인트 : 1177269 점
레 벨 : 운영진
가입일 : 2005-06-09 15:30
포토앨범보기 쪽지보내기