회원정보

레이어닫기

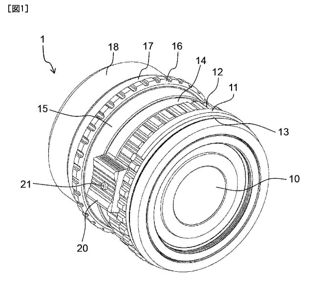
포커스 그립이 있는 렌즈 디자인 특허가 공개

워프짱™ | 10-13 14:54 | 조회수 : 1,246

출처는 43루머스입니다.

원문 : www.43rumors.com/panasonic-...

파나소닉의 특허에서 완전한 수동방식의 조리개와 포커스링이 존재하는 새로운 종류의 마이크로포서드 렌즈가 공개되었습니다.



















특허의 PDF 링크 : www.freepatentsonline.com/W...

저는 현재의 라이카 디자인과 조리개 포커스링에 만족합니다. 나머지도 라이카처럼 내줬으면 좋겠네요. ㅎㅎㅎㅎ


★ 워프짱™님의 팝코 앨범 ★
https://photo.popco.net/o2warp

접기 덧글 3 접기
SNS 로그인

이전글 다음글 목록

맨위로

이전이전 507 508 509 510 511 다음 다음