원문: www.sonyalpharumors.com/oh-...
Oh yes Sony really patented this: First curved medium format sensor!
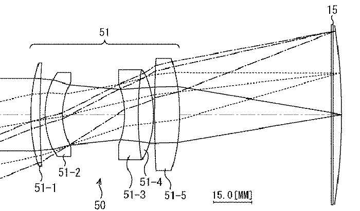
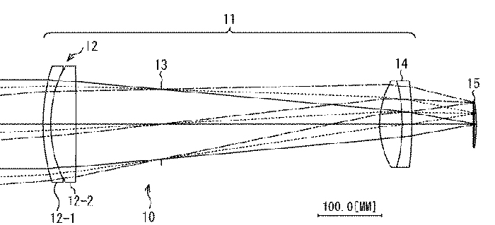
Japanese patent “2017-102189” discloses a design of a new Sony 400mm f/2.8 medium format lens. Now that’s already an exciting news by itself. But there is more: The lens is designed for a curved medium format sensor. Some info from the patent:
The lens is satisfying the effective image circle of 645 sizes, the single focus lens can be used as an interchangeable lens. (SAR note: 645 size is larger than sensors used on the Fuji GFX, Hasselblad X1D, Pentax 645Z, Leica S!!!)
Thanks to the curved sensor design High MTF can be obtained.
Now, before you get way too excited. Companies usually do patent all kind of stuff and only a small percentage of it becomes a real product.
That said this patent clearly proves Sony is at least thinking about the possibility of making a medium format mirrorless system camera with curved sensor. How much would this cost? Your kidney, your house or soul to Satan? :)
요약
재팬특허 “2017-102189”은 새로운소니 400mm f/2.8중형렌즈의특허를보여주고있다. 이것만으로도 익사이팅하지만 추가로 익사이팅한것이있다면 중형곡면센서를위해설계되었다는것이다. 이것은 아직특허일뿐이므로 당신은너무흥분하지는말아달라. 그러나 쨌든 적어도 소니가 중형곡면센서를갖는바디를생각하고있는듯하다.

덧글 10 접기
끼이끼이
[bulbutus]플랜지백이 작은 미러리스나 하이엔드의 단점은 주변부 화질저하를 야기합니다.
회원정보
아이디 :
닉네임 :
포인트 : 0 점
레 벨 : (레벨 : )
가입일 : 1970-01-01 09:00
포토앨범보기 쪽지보내기